Charles Mound Inclusive Play Structure
Availability:
Ships in 12-14 weeks
Free Shipping:
Offered within 48 contiguous states
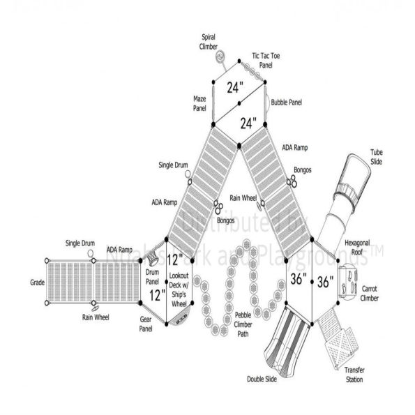
Children of all levels of physical ability can enjoy the Charles Mound ADA Accessible Play Structure. It has a lot of great ways to get around, with three large ramps that are great for allowing wheelchair access, as well as giving kids room to walk and run around. In between these ramps are large areas that provide room for wheelchair users to turn around, and also offer a lot of space for kids to congregate and socialize together.
The zig-zagging shape of the structure saves some space, and makes the structure more exciting as kids race each other, swiftly avoiding the angles. One of the most unusual features of Charles Mound are the series of 25 Pebble Climber Steps with a winding shape that connects two points of the zig zag. Activity Panels all over the play system, like the Gear Panel and Tic-Tac-Toe Panel ensure that kids are never far away from another place to have fun.
The Charles Mound ADA Accessible Play Structure comes in 35 pre-designed color schemes or you can choose custom structure colors to fit any play space theme. If interested in creating your own custom colored structure, just click the orange "Add To Quote" button above and add your color requests in the "Add More Info" section of the quote request OR just contact the Noah's Park & Playgrounds design team to get a free quote and 3D colored retendering of your desired custom colored playground structure.
Features Include:
- (2) 1/2 Hex Decks @ 12" Height
- (2) 1/2 Hex Decks @ 24" Height
- (2) 1/2 Hex Decks @ 36" Height
- ADA Transfer Station
- Double Slide
- Pebble Climber Path
- (2) Rain Wheel
- (2) Bongos
- Gear Panel
- (2) Single Drum
- (3) ADA Ramps
- Maze Panel
- Spiral Climber
- Tic Tac Toe Panel
- Bubble Panel
- Tube Slide
- Hexagonal Roof
- Carrot Climber
* Please note: the color scheme option images above are of a different structure than the Charles Mound ADA Accessible Playground Structure. The images give an example of what color each play component will be when quoted and ordering in that specific color scheme. When quoted for this play structure, our playground design team will create 3D images of the Charles Mound ADA Accessible Playground Structure in the color scheme of your choice.
